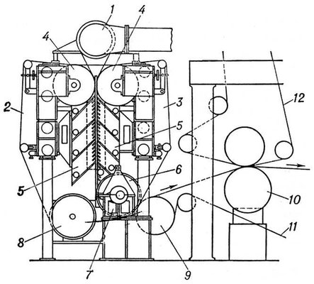
Ðèñ. 4. Ñõåìà ñåòî÷íîé ÷àñòè áóìàãîäåëàòåëüíîé ìàøèíû òèïà âåðòèôîðì: 1 — íàïîðíûé ÿùèê; 2 — ëåâàÿ ñåòêà; 3 — ïðàâàÿ ñåòêà; 4 — ãðóäíûå âàëû; 5 — îòñàñûâàþùèå ÿùèêè; 6 — ÿùèê, óñòàíîâëåííûé íà ñåòêå, ãäå ðàñïîëîæåí îòñàñûâàþùèé âàë; 7 — îòñàñûâàþùèé âàë; 8 — âàë; 9 — ïåðåäàòî÷íûé âàë; 10 — ïðåññ; 11 — íèæíåå ïðåññîâîå ñóêíî; 12 — âåðõíåå ïðåññîâîå ñóêíî.
